步进驱动器如何工作
1.恒流驱动 恒流控制的基本思想是通过控制主 电路中MOSFET的导通时间,即调节 MOSFET触发信号的脉冲宽度,来达 到控制输出驱动电压进而控制电机 绕组电流的目的。



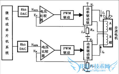
2.单极性驱动

3.双极性驱动

4.微步驱动 微步驱动技术是一种电流波形控制技术。其基本思想是控制每相绕 组电流的波形,使其阶梯上升或下降,即在0和最大值之间给出多 个稳定的中间状态,定子磁场的旋转过程中也就有了多个稳定的中 间状态,对应于电机转子旋转的步数增多、步距角减小。采用细分 驱动技术可以大大提高步进电机的步矩分辨率,减小转矩波动,避 免低频共振及降低运行噪声

步距角:控制系统每发一个步进脉冲信号,电机所转动的角度。
电机固有步距角 所用驱动器类型及工作状态 电机运行时的真正步距角
0.9°/1.8° 驱动器工作在半步状态 0.9°
0.9°/1.8° 驱动器工作在5细分状态 0.36°
0.9°/1.8° 驱动器工作在10细分状态 0.18°
0.9°/1.8° 驱动器工作在20细分状态 0.09°
0.9°/1.8° 驱动器工作在40细分状态 0.045°
实用公式:转速(r/s)=脉冲频率 /(电机每转整步数*细分数)

5.步进电动机的闭环伺服控制

7.电压和电流与转速、转矩的关系
①步进电机一定时,供给驱动器的电压值对电机性能影响大, 电压越高,步进电机能产生的力矩越大,越有利于需要高速应 用的场合,但电机的发热随着电压、电流的增加而加大,所以 要注意电机的温度不能超过最大限值。 ②一个可供参考的经验值:步进电机驱动器的输入电压一般设定在步进电机额定电压的3~25倍。建议:57机座电机采用直流24V-48V,86机座电机采用直流36-70V,110机座电机采用高于直流80V。 ③对变压器降压,然后整流、滤波得到的直流电源,其滤波电 容的容量可按以下工程经验公式选取:C=(8000 X I)/ V(uF) I为绕组电流(A);V为直流电源电压(V)
用户类似问题:
问题1:如何配用步进电机驱动器?
首先看下是几相的,然后驱动器的电流一定要大于步进电机额定功率的电流,三看细分是否满足你的控制要求 >>详细
问题2:步进电机为什么要配步进电机驱动器才能工作?
作为一种控制精密位移及大范围调速专用的电机, 它的旋转是以自身固有的步距角角(转子与定子的机械结构所决定)一步一步运行的, 其特点是每旋转一步,步距角始终不变,能够保持精密准确的位置。所以无论旋转多少次,始终没有积累误差。由于控制... >>详细
问题3:步进电机与驱动器工作原理?
第一个; 步进电机在控制系统中具有广泛的应用。它可以把脉冲信号转换成角位移,并且可用作电磁制动轮、电磁差分器、或角位移发生器等。 步进电机驱动器选型指南 一、步进电机驱动器工作模式分类 步进电机驱动模式基本有三种:整步、半步、细分。... >>详细
问题4:怎么选择步进电机的驱动器和驱动器的电源
驱动器选择: 从步进电机原理上来说电源功率越充裕越好,实际应用中因为生产成本的需要用户往往在满足要求的条件下要求功率越小越好。 功率过低,首先容易导致电机输出力矩不足甚至丢步,其次也容易损坏驱动器甚至开关电源。具体的电源选择和用... >>详细
问题5:2M415步进驱动器最高环境温度是什么意思,是可工作...
1、现象:电机低速时振动或失步,高速时正常;这是驱动电压过高引起。电机低速时正常,高速时失步;这是驱动电压过低引起。电机长时间低速运转无发热现象(电机正常工作时可高达70至80度)驱动电流过小时,电机工作时过热;驱动电流过大的原因。\r\n解... >>详细
- 评论列表(网友评论仅供网友表达个人看法,并不表明本站同意其观点或证实其描述)
-

















































