时间:2016-02-18 23:44 来源: 我爱IT技术网 作者:佚名
欢迎您访问我爱IT技术网,今天小编为你分享的是新闻资讯是:【苹果防碎屏专利曝光 iPhone7跌落或自动弹出保护片】,下面是详细的分享!
苹果防碎屏专利曝光 iPhone7跌落或自动弹出保护片

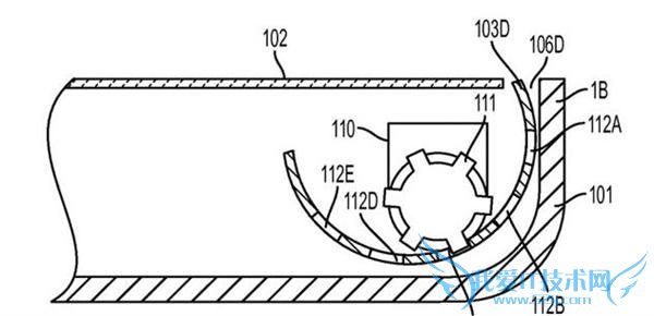
前瞻科技 10 月 23 日讯,为了防止 iPhone 昂贵的屏幕由于意外跌落而摔坏,经过多次尝试,苹果设计出了一个保护系统,当手机感知到跌落时,手机屏幕上方就会自动伸出可伸缩的凸出小装置,在屏幕玻璃和地面之间形成缓冲带。

据美国专利商标局昨天的披露,苹果已经向美国专利商标局申请该专利,名为“为电子设备所设的主动屏幕防护”机制。
据介绍,这就是一种缓冲技术,可通过传感器自动识别 iPhone 的掉落。然后启动在手机屏幕四个角的保护传感器,通过马达弹出屏幕保护装置,来缓冲屏幕的冲击力,这实际上是一个聪明的减震器。

该屏幕保护装置是在屏幕的边缘位置,一般状态下保持和屏幕齐平。而该保护装置的材料取决于具体的结构,苹果在专利中提到,可弯曲和刚性塑料、聚合物材料、金属或者其他一些材料都是可行的。不过,目前上不清楚苹果是否会在 iPhone7 中采用该保护技术,但在此之前肯定要经过大量的测试。
关于苹果防碎屏专利曝光 iPhone7跌落或自动弹出保护片的用户互动如下:
相关问题:
答: >>详细
相关问题:
答: >>详细
相关问题:
答: >>详细
- 评论列表(网友评论仅供网友表达个人看法,并不表明本站同意其观点或证实其描述)
-
