时间:2016-03-04 14:55 来源: 52ij手机之家 编辑:52强柔
欢迎您访问52ij手机之家,今天小编为你分享的是手机资讯:苹果获超低键程键盘专利 类似压力触控板,让你在第一时间了解手机的最新动态,下面是详细的分享!
苹果获超低键程键盘专利 类似压力触控板
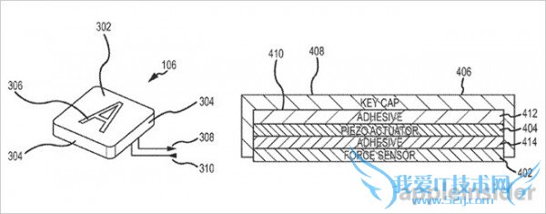
科技讯 11月4日消息,据cnbeta报道苹果目前的MacBook和Mac配件阵容采用了修改后的剪刀式键盘开关,或12英寸视网膜MacBook上采用的蝴蝶式开关。今天苹果获得的专利反映了现有设计的美感,通过堆叠式传感器、执行器和支持电路替代机械式开关。
从理论上说,这项专利系统运行类似于苹果的压力触控板,但是有更大的规模,每个按键都有一个力传感器包,用于测量下行压力的力传感器集成在键盘键帽下方,同时集成的执行机构产生触觉反馈。
苹果这项专利可以精细确定输入力的水平,苹果的键盘和共存软件逻辑可以支持每个按键多个操作。例如,在A键上施加第一档的压力可以输入字母A,而第二档压力可以触发系统命令或其他功能。

苹果获超低键程键盘专利

苹果获超低键程键盘专利

苹果获超低键程键盘专利
以上就是关于苹果获超低键程键盘专利 类似压力触控板的手机资讯分享,更多手机知识请移步到>>手机知识。
- 【苹果】经典强劲A6双核 苹果iPhone 5报价3250-手
- 【处理器】高清视网膜屏 苹果iPad Air首付499元-
- 【苹果】苹果iPhone5S性能强大 沈阳售4300元-处理
- 【苹果】苹果iPhone4S很是经典 秦皇岛2320元-语音
- 【苹果】指纹识别是亮点 苹果iPhone 5S新低-手机-
- 【处理器】向经典致敬 iPhone5乐购3G报价仅2600元
- 【苹果】苹果iPhone4S潮范街机 美版报1699元-手机
- 【苹果】经典时尚不容错过 苹果iPhone 5S报4299-
- 【处理器】苹果5S最新报价仅售3300元-分辨率-像素
- 【小米】小米4外媒评论:中国版iPhone仍需加油-手
- 评论列表(网友评论仅供网友表达个人看法,并不表明本站同意其观点或证实其描述)
-
