时间:2016-03-30 03:09 来源: 52ij手机之家 编辑:52强柔
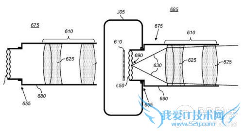
来自美国专利和商标局消息曝光,苹果获得了Plenoptic tech全光技术的拍照专利审批。Lytro光场相机技术同样是采用采用的是先拍照,后对焦的使用模式。那么明年苹果即将正式推出iPhone6手机,而现在这项专利也已经获得审批,是不是就意味着新一代苹果手机会搭载这项技术呢?

所谓Plenoptic tech全光技术,就是在苹果摄像头的传感器前面布置一个大量微镜头,方便形成光线感应器,从而可以捕捉到更多的光线。该项技术还支持用户全光模式和普通模式之间的切换。

之前传言未来的iPhone6手机将会配置大屏幕,支持的屏幕分辨率高达1920*1080像素,像素密度高达440ppi。现再加上这项技术的话,是不是意味着明年的iPhone6将会更值得我们期待呢?
- 评论列表(网友评论仅供网友表达个人看法,并不表明本站同意其观点或证实其描述)
-
